https://www.32cars.ru/posts/id-7653-gm-sozdaet-revoljutsiju-pedali-dlja-vseh-voditelej-vkljuchaja-ljudej-s-ogranichennoj-podvizhnostju
GM создает революцию: педали для всех водителей, включая людей с ограниченной подвижностью
GM запатентовала регулируемую систему педалей
GM создает революцию: педали для всех водителей, включая людей с ограниченной подвижностью
GM запатентовала регулируемую систему педалей
2024-12-27T08:37+03:00
2024-12-27T08:37+03:00
2024-12-27T08:44+03:00
/html/head/meta[@name='og:title']/@content
/html/head/meta[@name='og:description']/@content
https://www.32cars.ru/uploads/materials/7653/inner/FaPl8oORLbUYc5ZS0QNe.jpg
Компания GM подала патент на уникальную систему регулируемых педалей, разработанную для водителей с ограниченной подвижностью. Новая технология позволяет адаптировать педали под разные предпочтения и физические возможности, обеспечивая удобство и безопасность.Система включает в себя педали тормоза и газа с несколькими точками крепления и регулируемыми рычагами. Уникальность заключается в возможности быстрого переключения между стандартной конфигурацией для правоногих водителей и альтернативной для управления левой ногой. Это станет незаменимым решением для людей с травмами, инвалидностью или специфическими требованиями.Технология также полезна для тех, кто делит автомобиль с водителями разного роста или предпочтений. Она делает вождение доступным и удобным для всех. С таким подходом GM вновь закрепляет свои позиции и демонстрирует лидерство в инновациях. Система ожидается в новых моделях, включая перспективные авто 2025, и может стать стандартом для автомобилей будущего.
32 Cars
info@32cars.ru
32 Cars
2024
Мировые новости
ru-RU
32 Cars
info@32cars.ru
32 Cars
32 Cars
info@32cars.ru
32 Cars
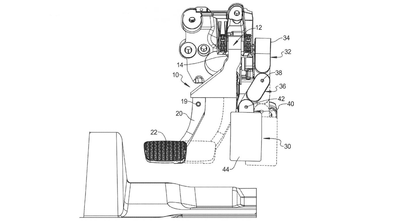
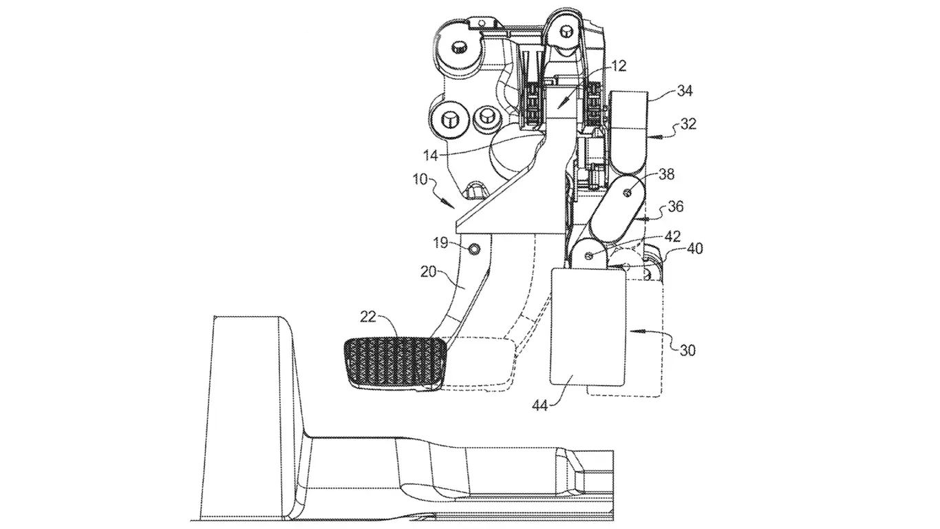
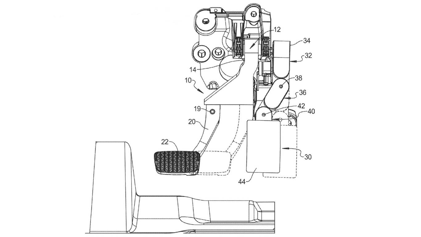
Компания GM подала патент на уникальную систему регулируемых педалей, разработанную для водителей с ограниченной подвижностью. Новая технология позволяет адаптировать педали под разные предпочтения и физические возможности, обеспечивая удобство и безопасность.
Система включает в себя педали тормоза и газа с несколькими точками крепления и регулируемыми рычагами. Уникальность заключается в возможности быстрого переключения между стандартной конфигурацией для правоногих водителей и альтернативной для управления левой ногой. Это станет незаменимым решением для людей с травмами, инвалидностью или специфическими требованиями.
Технология также полезна для тех, кто делит автомобиль с водителями разного роста или предпочтений. Она делает вождение доступным и удобным для всех. С таким подходом GM вновь закрепляет свои позиции и демонстрирует лидерство в инновациях. Система ожидается в новых моделях, включая перспективные авто 2025, и может стать стандартом для автомобилей будущего.