Издание CarBuzz обнаружило патент BMW на разработку надувного аэродинамического элемента, или спойлера, в Немецком патентном и торговом ведомстве. Этот инновационный дизайн может применяться в различных частях автомобиля, от выдвижных боковых юбок и передних спойлеров до регулируемых задних крыльев.Точные материалы, используемые в этой разработке, пока не раскрыты, но BMW имеет богатый опыт работы с пластиками и армированными волокнами (CFRP). Патент упоминает возможность использования термопластичного полиуретана и аддитивного производства (3D-печати), что делает эту разработку дешевой в массовом производстве.Для надувного спойлера необходим сжатый воздух, поэтому в системе будут применяться компрессор и резервуар для хранения воздуха. Жесткий элемент спойлера будет поддерживать надувной/гибкий элемент, обеспечивая привлекательный внешний вид, когда спойлер не используется. Когда спойлер больше не нужен, воздух будет выпускаться, возможно, с использованием выпускных отверстий около диффузора для разделения воздушного потока.dpma.deПатент также указывает на возможность управления аэродинамикой в зависимости от угла поворота автомобиля, ускорения, скорости, угла наклона дороги и других факторов.Основной причиной разработки надувного спойлера является простота. Гидравлические или электронные системы добавляют вес и сложность благодаря вспомогательному оборудованию. Система на основе компрессора не будет воздушной, но может быть легче в обслуживании и менее массивной.С надувной системой можно изменить форму и даже размер спойлера в зависимости от аэродинамических требований, что невозможно с фиксированными спойлерами. Такая гибкость может значительно улучшить аэродинамическую эффективность, что особенно важно в свете увеличивающейся массы автомобилей из-за тяжёлых аккумуляторов.
32 Cars
info@32cars.ru
32 Cars
166
26
166
26
2024
Мировые новости
ru-RU
32 Cars
info@32cars.ru
32 Cars
166
26
166
26
1366
768
true
1366
768
true
32 Cars
info@32cars.ru
32 Cars
166
26
166
26
1 августа 2024 15:37
Надувательство BMW: баварцы будут обманывать всех
A. Krivonosov
BMW запатентовала надувной спойлер для своих автомобилей
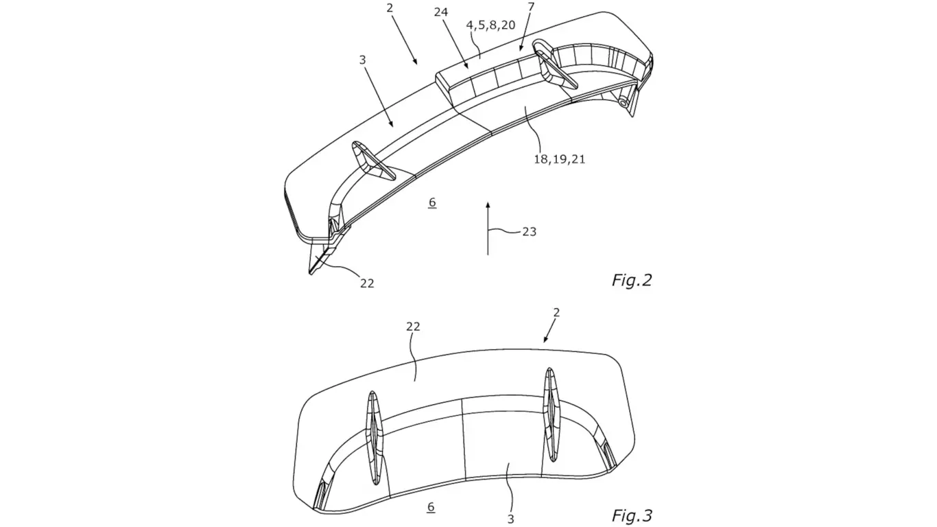
Издание CarBuzz обнаружило патент BMW на разработку надувного аэродинамического элемента, или спойлера, в Немецком патентном и торговом ведомстве. Этот инновационный дизайн может применяться в различных частях автомобиля, от выдвижных боковых юбок и передних спойлеров до регулируемых задних крыльев.
Точные материалы, используемые в этой разработке, пока не раскрыты, но BMW имеет богатый опыт работы с пластиками и армированными волокнами (CFRP). Патент упоминает возможность использования термопластичного полиуретана и аддитивного производства (3D-печати), что делает эту разработку дешевой в массовом производстве.
Для надувного спойлера необходим сжатый воздух, поэтому в системе будут применяться компрессор и резервуар для хранения воздуха. Жесткий элемент спойлера будет поддерживать надувной/гибкий элемент, обеспечивая привлекательный внешний вид, когда спойлер не используется. Когда спойлер больше не нужен, воздух будет выпускаться, возможно, с использованием выпускных отверстий около диффузора для разделения воздушного потока.
dpma.de
Патент также указывает на возможность управления аэродинамикой в зависимости от угла поворота автомобиля, ускорения, скорости, угла наклона дороги и других факторов.
Основной причиной разработки надувного спойлера является простота. Гидравлические или электронные системы добавляют вес и сложность благодаря вспомогательному оборудованию. Система на основе компрессора не будет воздушной, но может быть легче в обслуживании и менее массивной.
С надувной системой можно изменить форму и даже размер спойлера в зависимости от аэродинамических требований, что невозможно с фиксированными спойлерами. Такая гибкость может значительно улучшить аэродинамическую эффективность, что особенно важно в свете увеличивающейся массы автомобилей из-за тяжёлых аккумуляторов.
Автор: Никита Ефименков
Использование текстов, фото- и видео сайта разрешается только с указанием активной гиперссылки.