Компания Ford зарегистрировала новые патенты на системы brake-by-wire и steer-by-wire, которые убирают физическую связь между водителем и механическими элементами автомобиля. Эти инновации, хоть и не новы для индустрии, привносят новый уровень взаимодействия за счет обратной связи.Система steer-by-wire использует различные датчики скорости и угла поворота, а также датчики усилия, чтобы определить, какое сопротивление должно предоставлять рулевое колесо. Это позволяет сделать управление таким же естественным, как в системах с гидравлическим усилителем. Технология brake-by-wire аналогично обеспечивает прогрессивное и естественное ощущение торможения.uspto.govЭти системы могут значительно улучшить коммуникацию автомобиля с водителем, особенно в условиях недостаточной поворачиваемости и активации антиблокировочной системы. Однако для полного внедрения этих технологий потребуется еще много тестов и доработок.Если эти патенты окажутся успешными, Ford сможет внедрять еще более захватывающие идеи. Например, это может способствовать развитию самоуправляемых автомобилей с подвижными рулевыми колесами и сиденьями водителя. Когда эти технологии станут доступными для потребителей, пока остается вопросом времени.
32 Cars
info@32cars.ru
32 Cars
166
26
166
26
2024
Мировые новости
ru-RU
32 Cars
info@32cars.ru
32 Cars
166
26
166
26
1366
768
true
1366
768
true
32 Cars
info@32cars.ru
32 Cars
166
26
166
26
19 июня 2024 09:48
Ford внедряет крутые «фишки» Tesla
ford.com
Ford осваивает технологии Tesla: торможение и рулевое управление по проводам
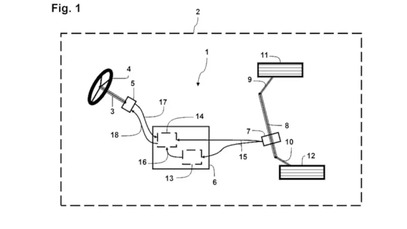
Компания Ford зарегистрировала новые патенты на системы brake-by-wire и steer-by-wire, которые убирают физическую связь между водителем и механическими элементами автомобиля. Эти инновации, хоть и не новы для индустрии, привносят новый уровень взаимодействия за счет обратной связи.
Система steer-by-wire использует различные датчики скорости и угла поворота, а также датчики усилия, чтобы определить, какое сопротивление должно предоставлять рулевое колесо. Это позволяет сделать управление таким же естественным, как в системах с гидравлическим усилителем. Технология brake-by-wire аналогично обеспечивает прогрессивное и естественное ощущение торможения.
uspto.gov
Эти системы могут значительно улучшить коммуникацию автомобиля с водителем, особенно в условиях недостаточной поворачиваемости и активации антиблокировочной системы. Однако для полного внедрения этих технологий потребуется еще много тестов и доработок.
Если эти патенты окажутся успешными, Ford сможет внедрять еще более захватывающие идеи. Например, это может способствовать развитию самоуправляемых автомобилей с подвижными рулевыми колесами и сиденьями водителя. Когда эти технологии станут доступными для потребителей, пока остается вопросом времени.
Автор: Юлия Зурилина
Использование текстов, фото- и видео сайта разрешается только с указанием активной гиперссылки.