https://www.32cars.ru/posts/id-17572-porsche-pridumala-dvigatel-kotoryj-sam-proizvodit-sebe-toplivo
Porsche придумала двигатель, который сам производит себе топливо
Porsche запатентовала двигатель, создающий водород из воды
Porsche придумала двигатель, который сам производит себе топливо
Porsche запатентовала двигатель, создающий водород из воды
2026-03-14T09:40+03:00
2026-03-14T09:40+03:00
2026-03-14T09:45+03:00
/html/head/meta[@name='og:title']/@content
/html/head/meta[@name='og:description']/@content
https://www.32cars.ru/uploads/materials/17572/inner/NV9vT8KGxnrdeo8o1Ikw.jpg
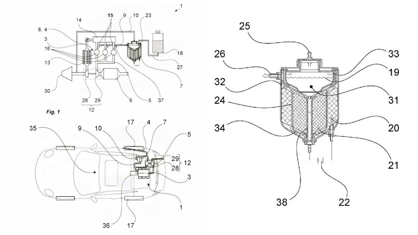
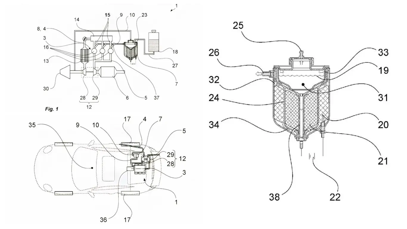
Компания Porsche подала патент на необычную технологию для двигателя внутреннего сгорания. Система предполагает использование водорода, который автомобиль сможет производить самостоятельно из воды.Согласно патентной заявке, обнаруженной в Немецком патентном ведомстве (DPMA), двигатель сможет работать на бензине, дизеле или водороде. Однако водород не рассматривается как основное топливо. Он будет использоваться для снижения выбросов в момент запуска двигателя.Инженеры Porsche предлагают устанавливать в автомобиле генератор водорода, который с помощью электролиза будет преобразовывать воду в газ. Источником воды может стать резервуар стеклоомывателя. Полученный водород подаётся в цилиндр двигателя и используется для нагрева каталитического нейтрализатора. Такая схема позволяет быстрее довести катализатор до рабочей температуры, когда он начинает эффективно очищать выхлопные газы. Это может существенно снизить вредные выбросы, которые обычно возникают сразу после запуска двигателя.В патенте также упоминается специальный «водородный режим», который может активироваться автоматически перед запуском двигателя. Технология пока находится на стадии разработки и не подтверждено, что она появится в серийных моделях. Однако подобные решения показывают, что автопроизводители продолжают искать способы сохранить двигатели внутреннего сгорания, одновременно снижая уровень выбросов.
32 Cars
info@32cars.ru
32 Cars
2026
Мировые новости
ru-RU
32 Cars
info@32cars.ru
32 Cars
32 Cars
info@32cars.ru
32 Cars
Компания Porsche подала патент на необычную технологию для двигателя внутреннего сгорания. Система предполагает использование водорода, который автомобиль сможет производить самостоятельно из воды.
Согласно патентной заявке, обнаруженной в Немецком патентном ведомстве (DPMA), двигатель сможет работать на бензине, дизеле или водороде. Однако водород не рассматривается как основное топливо. Он будет использоваться для снижения выбросов в момент запуска двигателя.
Инженеры Porsche предлагают устанавливать в автомобиле генератор водорода, который с помощью электролиза будет преобразовывать воду в газ. Источником воды может стать резервуар стеклоомывателя. Полученный водород подаётся в цилиндр двигателя и используется для нагрева каталитического нейтрализатора. Такая схема позволяет быстрее довести катализатор до рабочей температуры, когда он начинает эффективно очищать выхлопные газы. Это может существенно снизить вредные выбросы, которые обычно возникают сразу после запуска двигателя.
В патенте также упоминается специальный «водородный режим», который может активироваться автоматически перед запуском двигателя.
Технология пока находится на стадии разработки и не подтверждено, что она появится в серийных моделях. Однако подобные решения показывают, что автопроизводители продолжают искать способы сохранить двигатели внутреннего сгорания, одновременно снижая уровень выбросов.