Ford запатентовал оригинальный аксессуар для Bronco — складные ступени, монтируемые на заднюю дверь внедорожника. Патент был подан 4 декабря 2023 года, опубликован — 5 июня 2025-го.Речь идёт о компактной подножке, которая крепится к петлям двери багажника и позволяет удобно забираться на крышу. Поверхность ступеней имеет антискользящую текстуру, что особенно важно при работе с багажником, палаткой или экспедиционным багажником.uspto.govПохожее решение уже встречается у других оффроуд-моделей, но в случае Bronco речь идёт о фирменном аксессуаре, разработанном специально под заводскую конструкцию. Такая альтернатива полноценной лестнице сэкономит место и пригодится на бездорожье.Редакция издания 32CARS.RU напоминает, что регистрация патентов — это обычная практика для защиты идей, но она не всегда означает запуск продукта на рынок.
32 Cars
info@32cars.ru
32 Cars
166
26
166
26
2025
Мировые новости
ru-RU
32 Cars
info@32cars.ru
32 Cars
166
26
166
26
1366
768
true
1366
768
true
32 Cars
info@32cars.ru
32 Cars
166
26
166
26
9 июня 2025 08:48
Bronco станет удобнее для экспедиций: Ford готовит уникальный аксессуар
fordusacars.com
Ford запатентовал новую фишку для Bronco — ступени на багажник
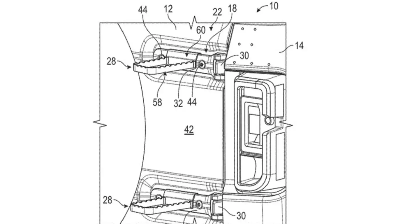
Ford запатентовал оригинальный аксессуар для Bronco — складные ступени, монтируемые на заднюю дверь внедорожника. Патент был подан 4 декабря 2023 года, опубликован — 5 июня 2025-го.
Речь идёт о компактной подножке, которая крепится к петлям двери багажника и позволяет удобно забираться на крышу. Поверхность ступеней имеет антискользящую текстуру, что особенно важно при работе с багажником, палаткой или экспедиционным багажником.
uspto.gov
Похожее решение уже встречается у других оффроуд-моделей, но в случае Bronco речь идёт о фирменном аксессуаре, разработанном специально под заводскую конструкцию. Такая альтернатива полноценной лестнице сэкономит место и пригодится на бездорожье.
Редакция издания 32CARS.RU напоминает, что регистрация патентов — это обычная практика для защиты идей, но она не всегда означает запуск продукта на рынок.
Автор: Никита Ефименков
Использование текстов, фото- и видео сайта разрешается только с указанием активной гиперссылки.