https://www.32cars.ru/posts/id-4863-ford-prevraschaet-knopki-v-genialnye-gadzhety
Ford превратил кнопки в гениальные гаджеты
Ford сделал аналоговые кнопки умными и настраиваемыми
Ford превратил кнопки в гениальные гаджеты
Ford сделал аналоговые кнопки умными и настраиваемыми
2024-08-15T13:11+03:00
2024-08-15T13:11+03:00
2024-08-15T13:13+03:00
/html/head/meta[@name='og:title']/@content
/html/head/meta[@name='og:description']/@content
https://www.32cars.ru/uploads/materials/4863/inner/sTc8lseOiRhn9WSyWBXg.jpg
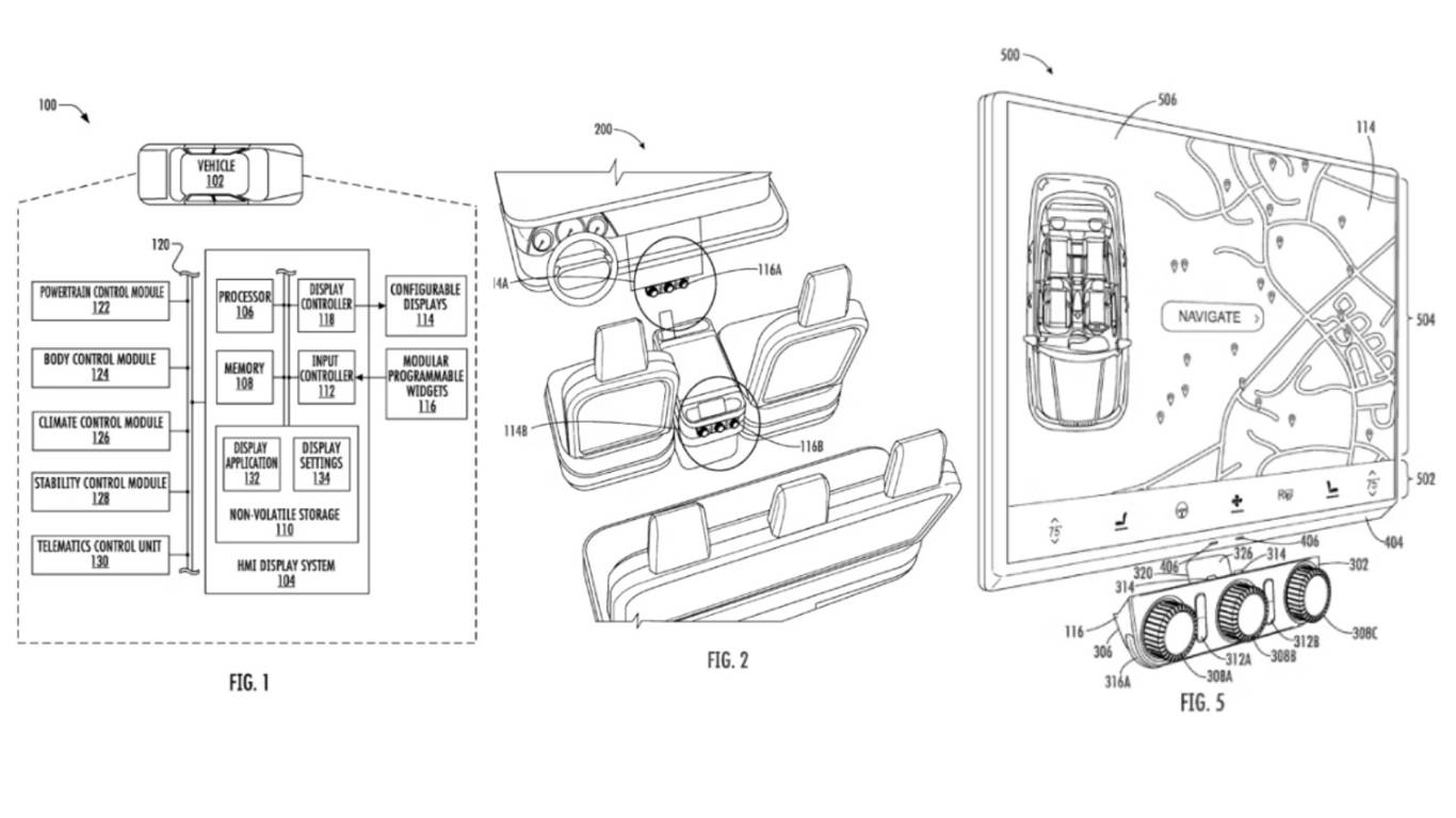
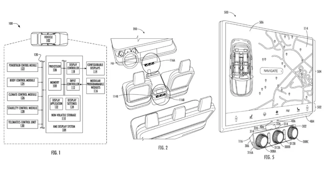
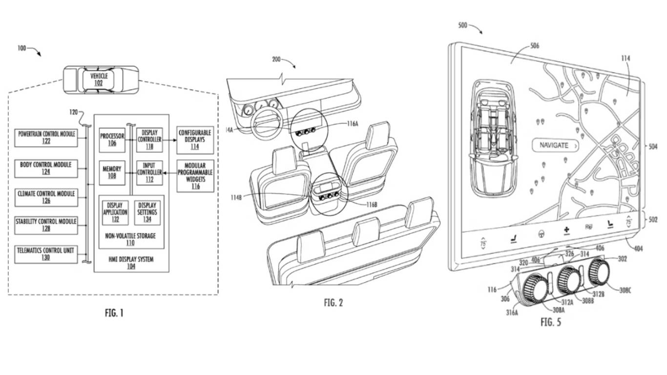
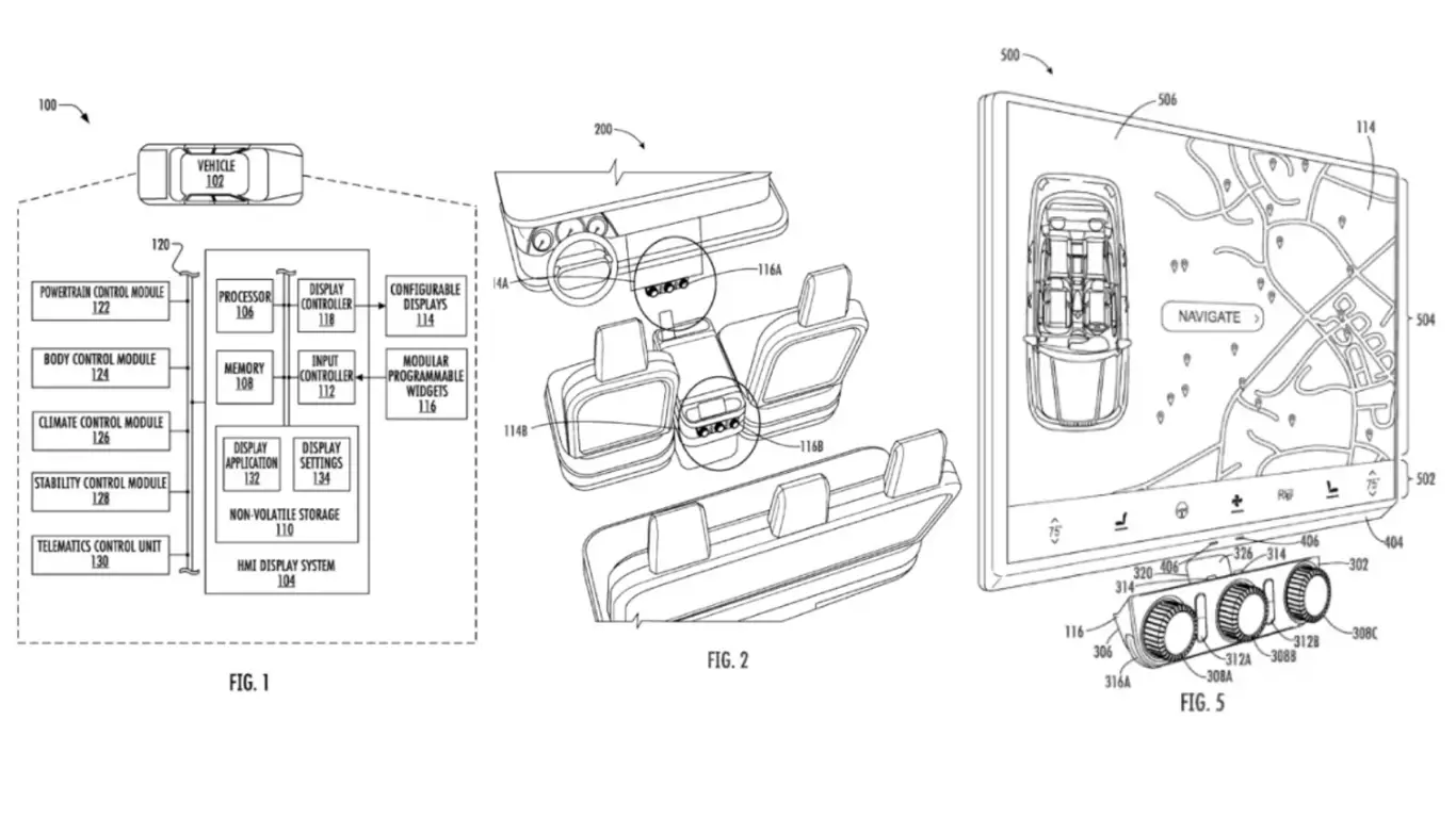
Ford представил инновационное решение, которое может изменить подход к управлению функциями автомобиля. В новом патенте описывается система, позволяющая настраивать аналоговые элементы управления — такие как ручки и кнопки — под индивидуальные предпочтения водителя. Это гениальная комбинация программного обеспечения и физического взаимодействия, позволяющая каждому водителю настроить свой автомобиль так, как ему удобно.На центральной консоли автомобиля будет установлено несколько настраиваемых ручек, которые могут выполнять разные функции в зависимости от настроек пользователя. Например, в жаркую погоду ручка может управлять скоростью вентилятора, а на природе — регулировать громкость музыки и освещение. Такие «умные» элементы управления можно настроить через профили водителя, что делает их универсальными и удобными для всех.Эта технология может стать революцией в дизайне автомобильных интерьеров, предлагая уникальное сочетание тактильного и цифрового управления. Теперь каждый сможет создать идеальное пространство внутри своего автомобиля, соответствующее его личным предпочтениям.
32 Cars
info@32cars.ru
32 Cars
2024
Мировые новости
ru-RU
32 Cars
info@32cars.ru
32 Cars
32 Cars
info@32cars.ru
32 Cars
Ford представил инновационное решение, которое может изменить подход к управлению функциями автомобиля. В новом патенте описывается система, позволяющая настраивать аналоговые элементы управления — такие как ручки и кнопки — под индивидуальные предпочтения водителя. Это гениальная комбинация программного обеспечения и физического взаимодействия, позволяющая каждому водителю настроить свой автомобиль так, как ему удобно.
На центральной консоли автомобиля будет установлено несколько настраиваемых ручек, которые могут выполнять разные функции в зависимости от настроек пользователя. Например, в жаркую погоду ручка может управлять скоростью вентилятора, а на природе — регулировать громкость музыки и освещение. Такие «умные» элементы управления можно настроить через профили водителя, что делает их универсальными и удобными для всех.
Эта технология может стать революцией в дизайне автомобильных интерьеров, предлагая уникальное сочетание тактильного и цифрового управления. Теперь каждый сможет создать идеальное пространство внутри своего автомобиля, соответствующее его личным предпочтениям.