Компания Ford подала новую патентную заявку в Патентное ведомство США, в которой описывается инновация, направленная на повышение безопасности баллонов со сжатым газом и увеличение дальности хода. Как и предыдущий патент Ford, связанный с водородом, этот, по всей видимости, предназначен для таких грузовиков, как F-250 или F-350 Super Duty.Большая проблема автомобилей, использующих сжатый газ (будь то водород или природный газ), заключается в том, что баллоны занимают много места, а их разрыв может быть катастрофическим, особенно в случае аварии. Решение Ford заключается в добавлении дополнительных баллонов за пределами шасси автомобиля, но внутри кузова.Мы не будем вдаваться в подробности работы патента, но суть в том, что между направляющими рамы будет установлен вогнутый кронштейн, в котором разместятся обычные баллоны со сжатым газом. Они безопасны, но не обеспечивают достаточной емкости. Поэтому Ford предлагает добавить еще один кронштейн — на этот раз шарнирный — снаружи каждой продольной направляющей рамы, на котором будут размещены дополнительные баллоны.uspto.govВ случае бокового удара кронштейн может отсоединиться, позволяя баллону с газом вращаться вокруг и под рамой, так что он окажется под автомобилем, но не будет касаться земли. Самое главное, это отводит его от источника удара. Как вы можете себе представить, это невозможно для автомобиля с низким дорожным просветом.Идея заключается в том, что баллон с сжатым газом будет менее подвержен воздействию внешних сил, если его можно отвести от источника удара. Но что, если столкновение будет сильным? Чтобы предотвратить отсоединение баллонов от автомобиля, Ford описывает использование тросов, которые будут всегда соединять баллоны с рамой. Также предусмотрены стоп-ограничители, использующие резиновые или пластиковые амортизаторы, чтобы предотвратить удар баллонов о раму, к которой они прикреплены.В качестве дополнительной меры предосторожности баллоны будут изготовлены из углеродного волокна или другого высокопрочного композитного материала. Наконец, Ford утверждает, что можно усложнить конструкцию, добавив электронный контроллер и датчики, которые будут взаимодействовать с передовыми системами помощи водителю. Таким образом, баллоны можно будет отвести от удара в момент столкновения.
32 Cars
info@32cars.ru
32 Cars
166
26
166
26
2024
Мировые новости
ru-RU
32 Cars
info@32cars.ru
32 Cars
166
26
166
26
1366
768
true
1366
768
true
32 Cars
info@32cars.ru
32 Cars
166
26
166
26
14 июня 2024 09:35
Прыгающий баллон с водородом: Ford считает, что это безопасно
uspto.gov
Компания Ford придумала, как сделать водородомобили безопаснее
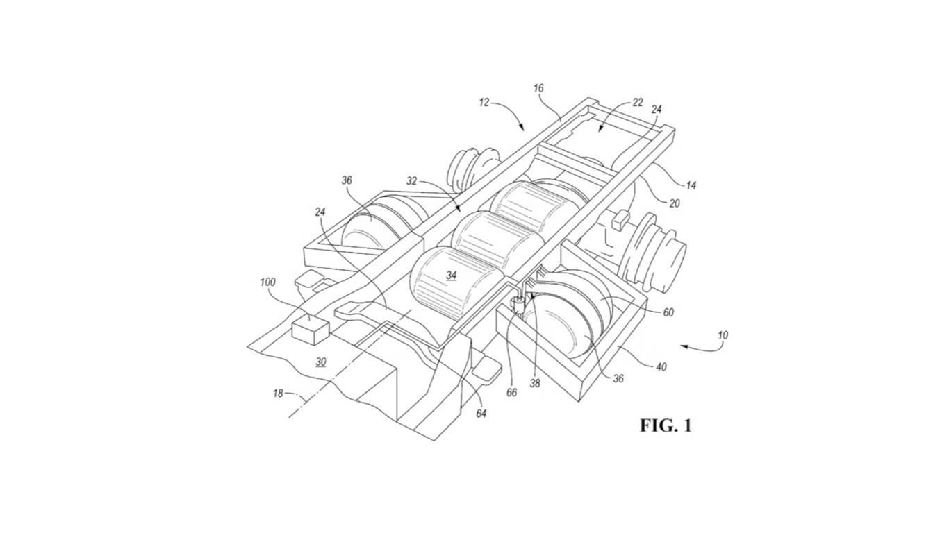
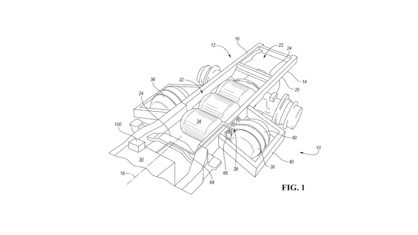
Компания Ford подала новую патентную заявку в Патентное ведомство США, в которой описывается инновация, направленная на повышение безопасности баллонов со сжатым газом и увеличение дальности хода. Как и предыдущий патент Ford, связанный с водородом, этот, по всей видимости, предназначен для таких грузовиков, как F-250 или F-350 Super Duty.
Большая проблема автомобилей, использующих сжатый газ (будь то водород или природный газ), заключается в том, что баллоны занимают много места, а их разрыв может быть катастрофическим, особенно в случае аварии. Решение Ford заключается в добавлении дополнительных баллонов за пределами шасси автомобиля, но внутри кузова.
Мы не будем вдаваться в подробности работы патента, но суть в том, что между направляющими рамы будет установлен вогнутый кронштейн, в котором разместятся обычные баллоны со сжатым газом. Они безопасны, но не обеспечивают достаточной емкости. Поэтому Ford предлагает добавить еще один кронштейн — на этот раз шарнирный — снаружи каждой продольной направляющей рамы, на котором будут размещены дополнительные баллоны.
uspto.gov
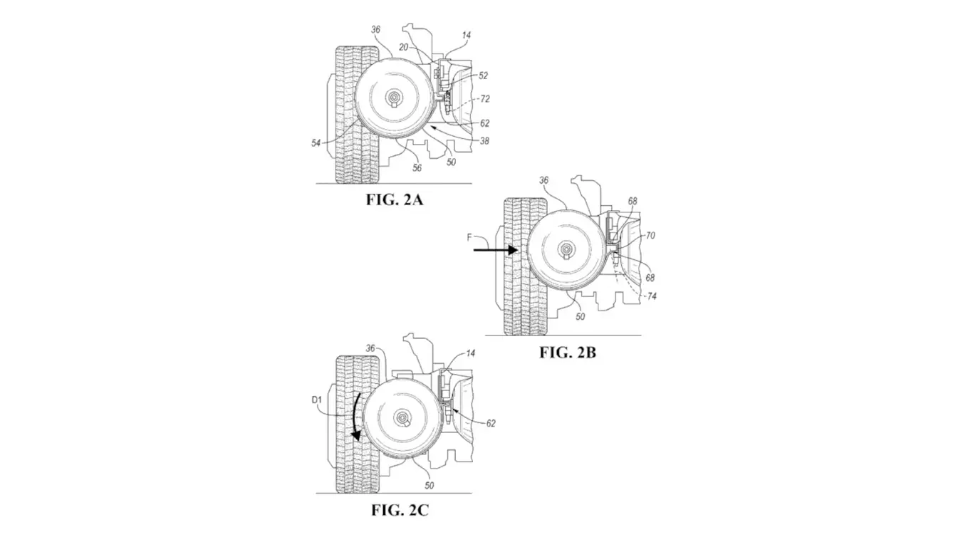
В случае бокового удара кронштейн может отсоединиться, позволяя баллону с газом вращаться вокруг и под рамой, так что он окажется под автомобилем, но не будет касаться земли. Самое главное, это отводит его от источника удара. Как вы можете себе представить, это невозможно для автомобиля с низким дорожным просветом.
Идея заключается в том, что баллон с сжатым газом будет менее подвержен воздействию внешних сил, если его можно отвести от источника удара. Но что, если столкновение будет сильным? Чтобы предотвратить отсоединение баллонов от автомобиля, Ford описывает использование тросов, которые будут всегда соединять баллоны с рамой. Также предусмотрены стоп-ограничители, использующие резиновые или пластиковые амортизаторы, чтобы предотвратить удар баллонов о раму, к которой они прикреплены.
В качестве дополнительной меры предосторожности баллоны будут изготовлены из углеродного волокна или другого высокопрочного композитного материала. Наконец, Ford утверждает, что можно усложнить конструкцию, добавив электронный контроллер и датчики, которые будут взаимодействовать с передовыми системами помощи водителю. Таким образом, баллоны можно будет отвести от удара в момент столкновения.
Автор: Никита Ефименков
Использование текстов, фото- и видео сайта разрешается только с указанием активной гиперссылки.