https://www.32cars.ru/posts/id-15719-mercedes-zapatentoval-novuju-arhitekturu-benzinovyh-dvigatelej
Тайный патент Mercedes вернул к жизни двигатели V12
Mercedes-Benz готовит новое поколение V8 и V12: раскрыты детали патента
Тайный патент Mercedes вернул к жизни двигатели V12
Mercedes-Benz готовит новое поколение V8 и V12: раскрыты детали патента
2026-01-01T14:25+03:00
2026-01-01T14:25+03:00
2026-01-01T14:42+03:00
/html/head/meta[@name='og:title']/@content
/html/head/meta[@name='og:description']/@content
https://www.32cars.ru/uploads/materials/15719/inner/gP8SB5RuhguFRZWQaT0L.jpg
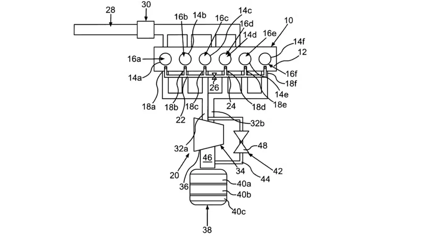
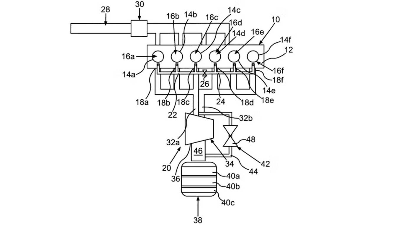
Mercedes-Benz запатентовал новую конструкцию бензиновых двигателей, которая может использоваться сразу в нескольких конфигурациях. Как следует из патентных материалов, речь идет о рядных четырех- и шестицилиндровых моторах, а также о новых версиях V8 и V12.Ключевая особенность разработки — дополнительный внутренний канал выпуска отработавших газов в головке блока цилиндров. В схеме для рядного шестицилиндрового двигателя цилиндры разделены на две группы, соединенные управляемым клапаном. При его открытии часть выхлопных газов используется для улучшения продувки цилиндров, что снижает потери и повышает мощность на высоких оборотах.Mercedes-Benz указывает, что такая система уменьшает насосные потери и улучшает отдачу двигателя за счет более эффективного пульсирующего потока выхлопа. В патенте подчеркивается, что решение рассчитано на турбированные моторы и требует коленчатого вала с интервалом 120 градусов, что исключает использование плоского коленвала.Компания рассматривает применение этой технологии сразу на нескольких типах двигателей, включая V12, которые Mercedes ранее подтверждала для моделей S-Class в долгосрочной перспективе. Разработка отражает стратегию бренда по сохранению двигателей внутреннего сгорания на фоне замедления перехода на электромобили и может найти применение в новых авто 2026 года и последующих модельных лет.
32 Cars
info@32cars.ru
32 Cars
2026
Мировые новости
ru-RU
32 Cars
info@32cars.ru
32 Cars
32 Cars
info@32cars.ru
32 Cars
Mercedes-Benz запатентовал новую конструкцию бензиновых двигателей, которая может использоваться сразу в нескольких конфигурациях. Как следует из патентных материалов, речь идет о рядных четырех- и шестицилиндровых моторах, а также о новых версиях V8 и V12.
Ключевая особенность разработки — дополнительный внутренний канал выпуска отработавших газов в головке блока цилиндров. В схеме для рядного шестицилиндрового двигателя цилиндры разделены на две группы, соединенные управляемым клапаном. При его открытии часть выхлопных газов используется для улучшения продувки цилиндров, что снижает потери и повышает мощность на высоких оборотах.
Mercedes-Benz указывает, что такая система уменьшает насосные потери и улучшает отдачу двигателя за счет более эффективного пульсирующего потока выхлопа. В патенте подчеркивается, что решение рассчитано на турбированные моторы и требует коленчатого вала с интервалом 120 градусов, что исключает использование плоского коленвала.
Компания рассматривает применение этой технологии сразу на нескольких типах двигателей, включая V12, которые Mercedes ранее подтверждала для моделей S-Class в долгосрочной перспективе. Разработка отражает стратегию бренда по сохранению двигателей внутреннего сгорания на фоне замедления перехода на электромобили и может найти применение в новых авто 2026 года и последующих модельных лет.