https://www.32cars.ru/posts/id-13315-dozhd-i-zhara-bolshe-ne-pomeha-gm-pridumala-kryshu-iz-niotkuda
GM придумала, как укрыть пассажиров автомобиля от дождя и солнца
GM запатентовала автоматический выдвижной навес для автомобилей
GM придумала, как укрыть пассажиров автомобиля от дождя и солнца
GM запатентовала автоматический выдвижной навес для автомобилей
2025-09-20T12:42+03:00
2025-09-20T12:42+03:00
2025-09-20T12:43+03:00
/html/head/meta[@name='og:title']/@content
/html/head/meta[@name='og:description']/@content
https://www.32cars.ru/uploads/materials/13315/inner/Mjp0vuDAsxE7zZbGq5zJ.jpg
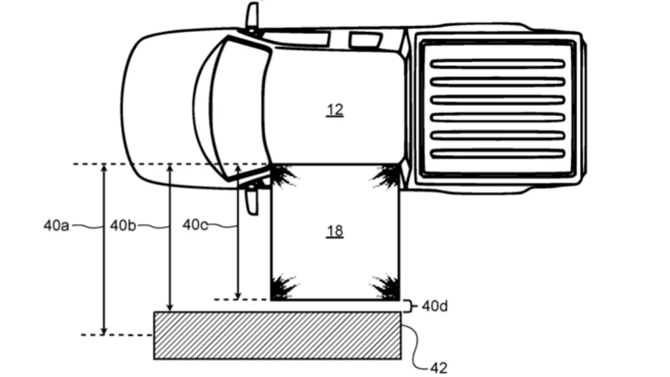
General Motors подала заявку на патент в США на выдвижной и убирающийся тент для автомобилей. Система, описанная в документе под номером US 12,404,692 B2, была зарегистрирована в феврале 2023 года и опубликована 2 сентября 2025 года. Разработкой занимались инженеры из Мичигана.Новый тент интегрирован в конструкцию машины и работает автоматически. Контроллер, связанный с датчиками автомобиля, анализирует погодные условия, факт парковки и использование дверей. Например, при дожде и открывании двери тент выдвигается, создавая защиту для пассажиров и багажа. Дополнительно система может регулировать зону покрытия, избегая препятствий, а в темное время включать встроенную подсветку.В отличие от ручных аксессуаров для кемпинга, эта разработка позволяет использовать функцию без участия водителя. Подобные технологии могут повысить удобство эксплуатации и расширить практичность будущих автомобилей.
32 Cars
info@32cars.ru
32 Cars
2025
Мировые новости
ru-RU
32 Cars
info@32cars.ru
32 Cars
32 Cars
info@32cars.ru
32 Cars
General Motors подала заявку на патент в США на выдвижной и убирающийся тент для автомобилей. Система, описанная в документе под номером US 12,404,692 B2, была зарегистрирована в феврале 2023 года и опубликована 2 сентября 2025 года. Разработкой занимались инженеры из Мичигана.
Новый тент интегрирован в конструкцию машины и работает автоматически. Контроллер, связанный с датчиками автомобиля, анализирует погодные условия, факт парковки и использование дверей. Например, при дожде и открывании двери тент выдвигается, создавая защиту для пассажиров и багажа. Дополнительно система может регулировать зону покрытия, избегая препятствий, а в темное время включать встроенную подсветку.
В отличие от ручных аксессуаров для кемпинга, эта разработка позволяет использовать функцию без участия водителя. Подобные технологии могут повысить удобство эксплуатации и расширить практичность будущих автомобилей.