https://www.32cars.ru/posts/id-12153-hvatit-giperkarov-kristian-fon-kenigsegg-teper-zajmetsja-aviatsiej
Хватит гиперкаров: Кристиан фон Кёнигсегг теперь займется авиацией
Кристиан фон Кёнигсегг запатентовал футуристичный самолёт с замкнутым крылом
Хватит гиперкаров: Кристиан фон Кёнигсегг теперь займется авиацией
Кристиан фон Кёнигсегг запатентовал футуристичный самолёт с замкнутым крылом
2025-07-30T08:58+03:00
2025-07-30T08:58+03:00
2025-07-30T08:58+03:00
/html/head/meta[@name='og:title']/@content
/html/head/meta[@name='og:description']/@content
https://www.32cars.ru/uploads/materials/12153/inner/Z9HBh84yWf9XHRuo9CPc.jpg
После того как все автомобили Koenigsegg были распроданы, их создатель и бессменный инженер Кристиан фон Кёнигсегг занялся авиацией. Согласно новому патенту, зарегистрированному в июне, он разработал инновационную конструкцию самолёта с замкнутым крылом, призванную повысить аэродинамическую эффективность и устойчивость.Обычно у самолётов концы крыльев создают турбулентность и сопротивление. В патенте Кёнигсегга крылья образуют замкнутую петлю, соединяясь между носовой и хвостовой частями фюзеляжа. Такая схема снижает сопротивление воздуха и может сократить расход топлива, что критически важно для снижения выбросов в авиации — сегодня этот сектор ответственен за 3,5% климатических изменений.В конструкции предусмотрена система моторчиков и рычагов, которые позволяют изгибать части крыла под разными углами — для разных фаз полёта: взлёт, крейсерская скорость, посадка. Всё это — без традиционных закрылков и элеронов. При этом встречные секции крыла работают как естественные стабилизаторы.Конечно, на коммерческих рейсах такой самолёт появится нескоро — если вообще появится. Воплощение проекта потребует новых технологий производства и прохождения строжайших сертификаций. Однако Кёнигсегг известен именно тем, что делает невозможное — возможным.Автопроизводители не раз пробовали силы в авиации: Ford создавал легендарный Tri-Motor, Mitsubishi и Saab начинали как авиастроители, Honda выпускает собственный бизнес-джет, а Rolls-Royce прославился не только люкс-автомобилями, но и двигателями Merlin для Spitfire. Теперь к ним присоединился и Koenigsegg — не только на земле, но и в воздухе.Пока остаётся дождаться дальнейших шагов шведского гения. Возможно, следующее достижение Koenigsegg окажется не на трассе, а в небе.
32 Cars
info@32cars.ru
32 Cars
2025
Мировые новости
ru-RU
32 Cars
info@32cars.ru
32 Cars
32 Cars
info@32cars.ru
32 Cars
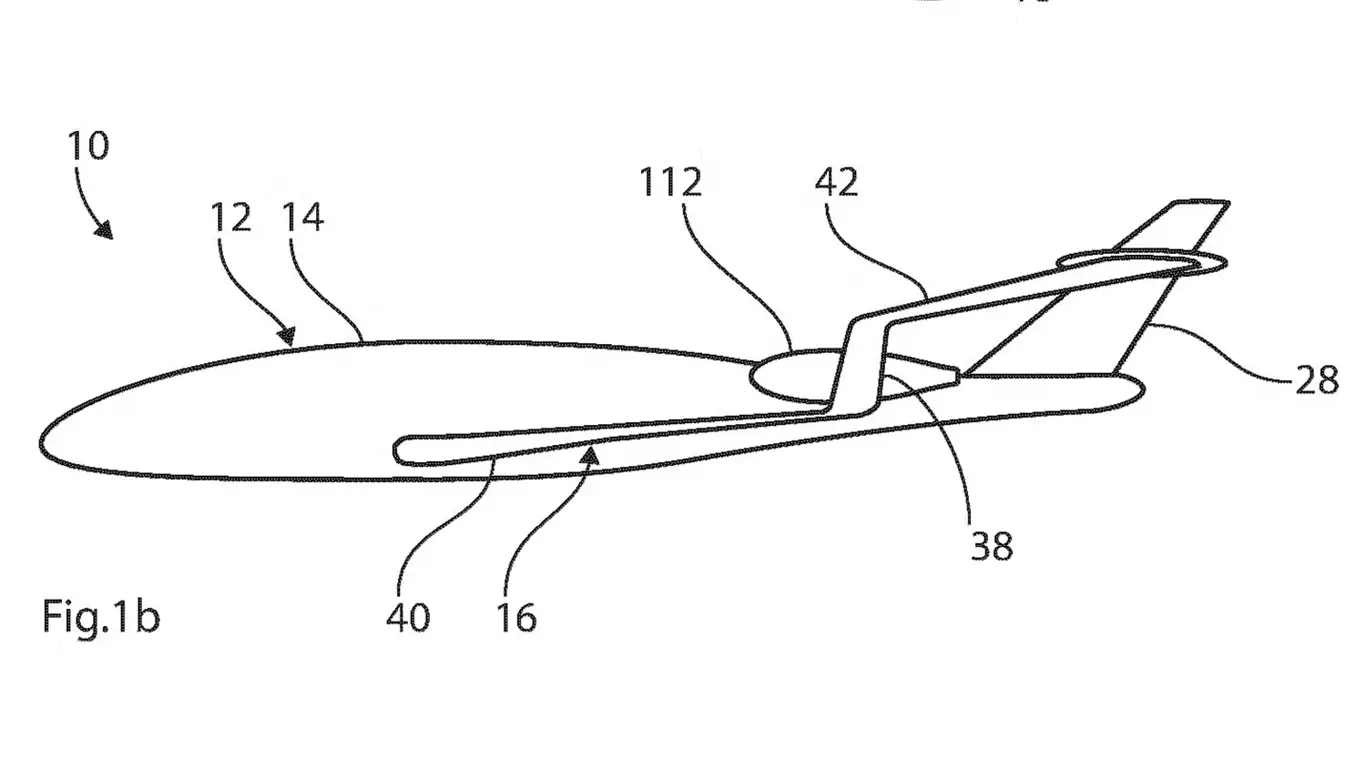
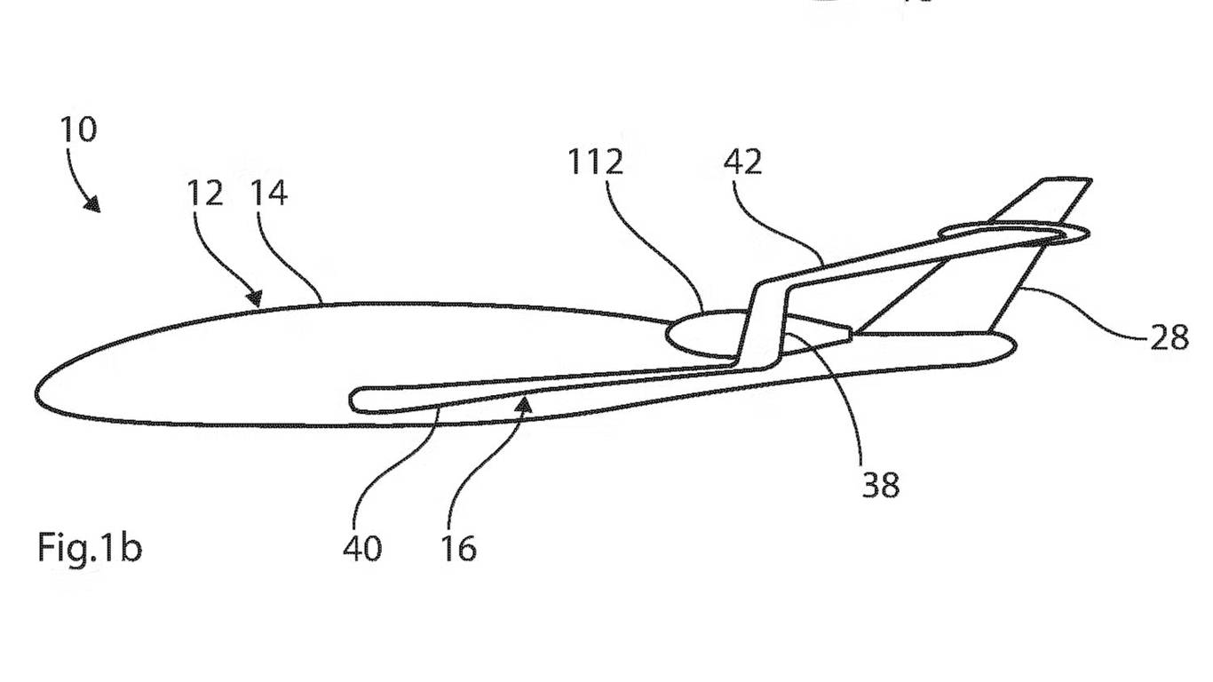
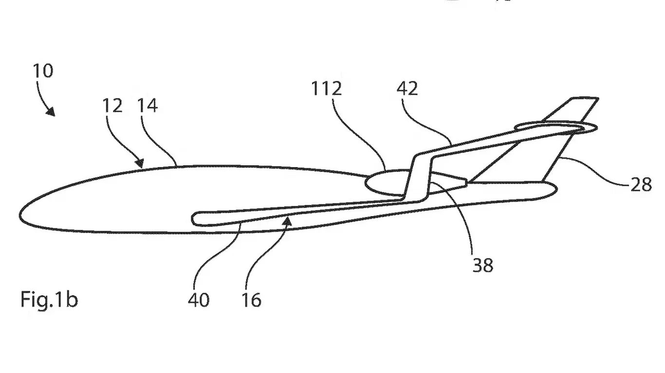
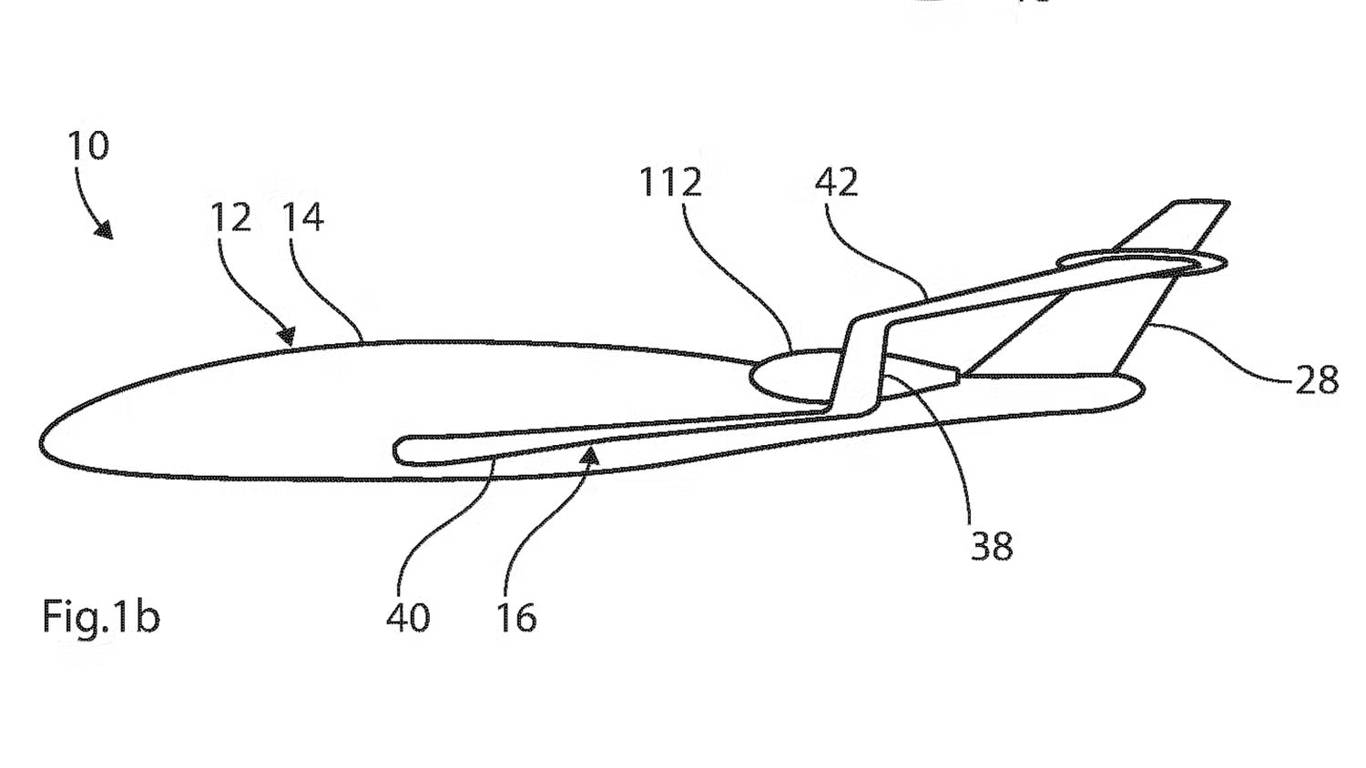
После того как все автомобили Koenigsegg были распроданы, их создатель и бессменный инженер Кристиан фон Кёнигсегг занялся авиацией. Согласно новому патенту, зарегистрированному в июне, он разработал инновационную конструкцию самолёта с замкнутым крылом, призванную повысить аэродинамическую эффективность и устойчивость.
Обычно у самолётов концы крыльев создают турбулентность и сопротивление. В патенте Кёнигсегга крылья образуют замкнутую петлю, соединяясь между носовой и хвостовой частями фюзеляжа. Такая схема снижает сопротивление воздуха и может сократить расход топлива, что критически важно для снижения выбросов в авиации — сегодня этот сектор ответственен за 3,5% климатических изменений.
В конструкции предусмотрена система моторчиков и рычагов, которые позволяют изгибать части крыла под разными углами — для разных фаз полёта: взлёт, крейсерская скорость, посадка. Всё это — без традиционных закрылков и элеронов. При этом встречные секции крыла работают как естественные стабилизаторы.
Конечно, на коммерческих рейсах такой самолёт появится нескоро — если вообще появится. Воплощение проекта потребует новых технологий производства и прохождения строжайших сертификаций. Однако Кёнигсегг известен именно тем, что делает невозможное — возможным.
Автопроизводители не раз пробовали силы в авиации: Ford создавал легендарный Tri-Motor, Mitsubishi и Saab начинали как авиастроители, Honda выпускает собственный бизнес-джет, а Rolls-Royce прославился не только люкс-автомобилями, но и двигателями Merlin для Spitfire. Теперь к ним присоединился и Koenigsegg — не только на земле, но и в воздухе.
Пока остаётся дождаться дальнейших шагов шведского гения. Возможно, следующее достижение Koenigsegg окажется не на трассе, а в небе.