Ford Motor Company продолжает активно экспериментировать с функциональностью пикапов и подала новый патент, который может изменить подход к хранению вещей в кузове. Документ описывает выдвижной ящик, расположенный рядом с подножкой, предназначенной для доступа в кузов.Патент был подан 17 июля 2024 года и опубликован 22 января 2026 года. Идея заключается в доработке уже существующей подножки: вместо пассивного элемента она может превратиться в полноценный отсек для хранения. Выдвижной ящик предполагается использовать для инструментов, аксессуаров или мелкого груза, а внутренняя компоновка может включать перегородки для более удобной организации пространства.В последние годы Ford активно ищет способы задействовать неиспользуемые объёмы в пикапах, особенно в боковых стенках кузова. Ранее компания уже подавала патенты на различные варианты скрытых отсеков и модульных панелей, а также решения, частично напоминающие «сквозной туннель» Rivian R1T. Новый ящик рядом с подножкой выглядит логичным развитием этой концепции и потенциально может оказаться более простым и универсальным.uspto.govХотя наличие патента не означает автоматического появления функции в серийных моделях, подобные решения хорошо вписываются в философию Ford, ориентированную на практичность и удобство владельцев пикапов. С учётом популярности встроенных систем хранения у конкурентов, идея выглядит своевременной. В самой компании подчёркивают, что патентные заявки служат прежде всего для защиты идей и не являются прямым указанием на будущие продуктовые планы.Тем не менее, именно такие разработки нередко со временем доходят до конвейера в том или ином виде. Если Ford действительно реализует этот ящик в серийных пикапах, это будет пример того, как простое инженерное решение может дать реальную пользу в повседневной эксплуатации.Ранее стало известно, что Helderburg оценила рестомод Land Rover Defender Arvon в $393 тыс.
32 Cars
info@32cars.ru
32 Cars
166
26
166
26
2026
Мировые новости
ru-RU
32 Cars
info@32cars.ru
32 Cars
166
26
166
26
1366
768
true
1366
768
true
32 Cars
info@32cars.ru
32 Cars
166
26
166
26
24 января 2026 11:49
Этот патент Ford меняет представление о хранении в пикапах
A. Krivonosov
Ford запатентовал выдвижной ящик рядом с подножкой пикапа
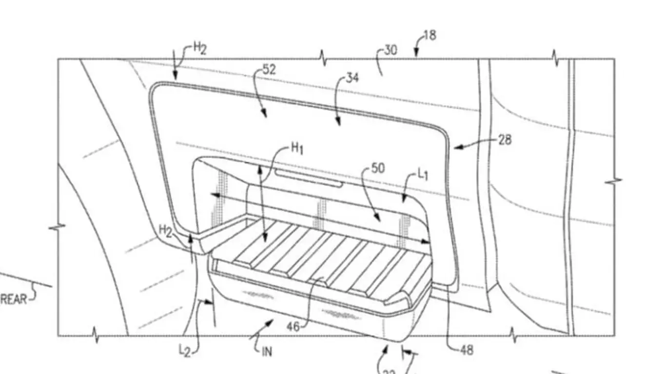
Ford Motor Company продолжает активно экспериментировать с функциональностью пикапов и подала новый патент, который может изменить подход к хранению вещей в кузове. Документ описывает выдвижной ящик, расположенный рядом с подножкой, предназначенной для доступа в кузов.
Патент был подан 17 июля 2024 года и опубликован 22 января 2026 года. Идея заключается в доработке уже существующей подножки: вместо пассивного элемента она может превратиться в полноценный отсек для хранения. Выдвижной ящик предполагается использовать для инструментов, аксессуаров или мелкого груза, а внутренняя компоновка может включать перегородки для более удобной организации пространства.
В последние годы Ford активно ищет способы задействовать неиспользуемые объёмы в пикапах, особенно в боковых стенках кузова. Ранее компания уже подавала патенты на различные варианты скрытых отсеков и модульных панелей, а также решения, частично напоминающие «сквозной туннель» Rivian R1T. Новый ящик рядом с подножкой выглядит логичным развитием этой концепции и потенциально может оказаться более простым и универсальным.
uspto.gov
Хотя наличие патента не означает автоматического появления функции в серийных моделях, подобные решения хорошо вписываются в философию Ford, ориентированную на практичность и удобство владельцев пикапов. С учётом популярности встроенных систем хранения у конкурентов, идея выглядит своевременной. В самой компании подчёркивают, что патентные заявки служат прежде всего для защиты идей и не являются прямым указанием на будущие продуктовые планы.
Тем не менее, именно такие разработки нередко со временем доходят до конвейера в том или ином виде. Если Ford действительно реализует этот ящик в серийных пикапах, это будет пример того, как простое инженерное решение может дать реальную пользу в повседневной эксплуатации.
Ранее стало известно, что Helderburg оценила рестомод Land Rover Defender Arvon в $393 тыс.
Автор: Максим Гришечкин
Использование текстов, фото- и видео сайта разрешается только с указанием активной гиперссылки.