21:18 14-03-2026

Porsche desarrolla tecnología de hidrógeno para motores de combustión interna

dpma.de

Porsche presenta una patente para un motor que usa hidrógeno generado a partir de agua, reduciendo emisiones al arrancar. Descubre cómo funciona esta innovación.

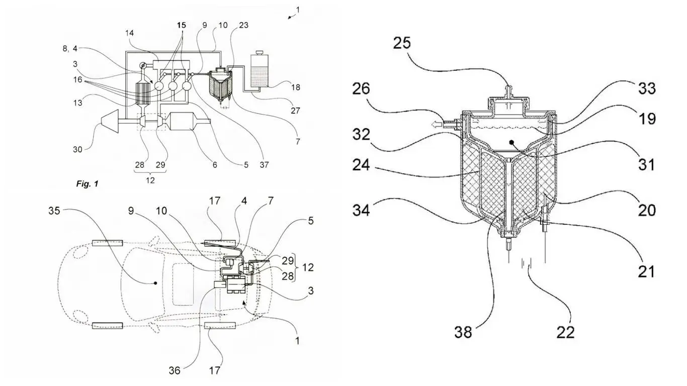
Porsche ha presentado una patente para una tecnología inusual de motor de combustión interna. El sistema implica el uso de hidrógeno, que el automóvil podría producir de forma independiente a partir de agua.

De acuerdo con la solicitud de patente encontrada en la Oficina Alemana de Patentes y Marcas, el motor podría funcionar con gasolina, diésel o hidrógeno. Sin embargo, el hidrógeno no se considera el combustible principal. En su lugar, se utilizaría para reducir las emisiones durante el arranque del motor.

Los ingenieros de Porsche proponen instalar un generador de hidrógeno en el vehículo que convertiría agua en gas mediante electrólisis. La fuente de agua podría ser el depósito del lavaparabrisas. El hidrógeno generado se alimentaría luego al cilindro del motor y se usaría para calentar el catalizador. Este enfoque permite que el catalizador alcance su temperatura de funcionamiento más rápido, lo que le permite limpiar los gases de escape de manera efectiva antes. Esto podría reducir significativamente las emisiones nocivas que suelen ocurrir justo después de arrancar el motor.

La patente también menciona un "modo hidrógeno" especial que podría activarse automáticamente antes del arranque del motor.

La tecnología se encuentra actualmente en etapa de desarrollo, y no se confirma si aparecerá en modelos de producción. Aún así, tales soluciones demuestran que los fabricantes de automóviles continúan buscando formas de preservar los motores de combustión interna mientras reducen simultáneamente los niveles de emisiones.

Caros Addington, Editor