https://www.32cars.ru/posts/id-18266-avtomobili-ford-nauchatsja-ponimat-vas-bez-slov-luchshe-ne-zlitsja
Автомобили Ford научатся понимать Вас без слов: лучше не злиться
Ford запатентовал систему чтения по губам для кабриолетов
Автомобили Ford научатся понимать Вас без слов: лучше не злиться
Ford запатентовал систему чтения по губам для кабриолетов
2026-04-07T21:53+03:00
2026-04-07T21:53+03:00
2026-04-07T21:54+03:00
/html/head/meta[@name='og:title']/@content
/html/head/meta[@name='og:description']/@content
https://www.32cars.ru/uploads/materials/18266/inner/Y2j9d1rn6Wd7tTgjwNoC.jpg
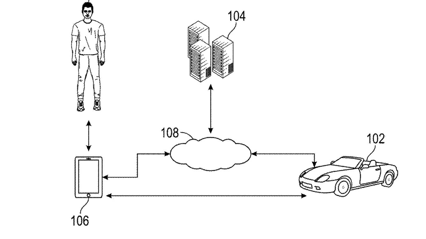
Ford работает над системой, способной улучшить голосовое управление в кабриолетах и открытых внедорожниках. Новая разработка решает ключевую проблему таких автомобилей — высокий уровень шума, мешающий нормальному общению с машиной.Технология определяет, открыт ли автомобиль (например, кабриолет или внедорожник без дверей), и анализирует уровень шума в салоне. При превышении порога активируется режим усиленной коммуникации. Система использует несколько микрофонов для фильтрации шума ветра и дороги, а также увеличивает громкость динамиков. В сложных условиях она может задействовать камеры и распознавание движения губ, чтобы точнее понять команды водителя.Особенность разработки — использование мимики и жестов. Камеры отслеживают выражение лица водителя: если система «видит» раздражение или недовольство, она корректирует поведение — например, замедляет речь или усиливает звук. Фактически автомобиль учится интерпретировать не только команды, но и реакцию человека на них.Подобные технологии уже частично применяются в системах контроля водителя, но Ford идёт дальше, интегрируя эмоциональный анализ в интерфейс управления.
32 Cars
info@32cars.ru
32 Cars
2026
Мировые новости
ru-RU
32 Cars
info@32cars.ru
32 Cars
32 Cars
info@32cars.ru
32 Cars
Ford работает над системой, способной улучшить голосовое управление в кабриолетах и открытых внедорожниках. Новая разработка решает ключевую проблему таких автомобилей — высокий уровень шума, мешающий нормальному общению с машиной.
Технология определяет, открыт ли автомобиль (например, кабриолет или внедорожник без дверей), и анализирует уровень шума в салоне. При превышении порога активируется режим усиленной коммуникации. Система использует несколько микрофонов для фильтрации шума ветра и дороги, а также увеличивает громкость динамиков. В сложных условиях она может задействовать камеры и распознавание движения губ, чтобы точнее понять команды водителя.
Особенность разработки — использование мимики и жестов. Камеры отслеживают выражение лица водителя: если система «видит» раздражение или недовольство, она корректирует поведение — например, замедляет речь или усиливает звук. Фактически автомобиль учится интерпретировать не только команды, но и реакцию человека на них.
Подобные технологии уже частично применяются в системах контроля водителя, но Ford идёт дальше, интегрируя эмоциональный анализ в интерфейс управления.