15 августа 2024 13:11

Ford превратил кнопки в гениальные гаджеты

Ford сделал аналоговые кнопки умными и настраиваемыми

Добавить 32CARS в предпочитаемые источники Google

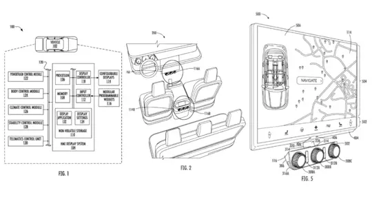
Ford представил инновационное решение, которое может изменить подход к управлению функциями автомобиля. В новом патенте описывается система, позволяющая настраивать аналоговые элементы управления — такие как ручки и кнопки — под индивидуальные предпочтения водителя. Это гениальная комбинация программного обеспечения и физического взаимодействия, позволяющая каждому водителю настроить свой автомобиль так, как ему удобно.

На центральной консоли автомобиля будет установлено несколько настраиваемых ручек, которые могут выполнять разные функции в зависимости от настроек пользователя. Например, в жаркую погоду ручка может управлять скоростью вентилятора, а на природе — регулировать громкость музыки и освещение. Такие «умные» элементы управления можно настроить через профили водителя, что делает их универсальными и удобными для всех.

Эта технология может стать революцией в дизайне автомобильных интерьеров, предлагая уникальное сочетание тактильного и цифрового управления. Теперь каждый сможет создать идеальное пространство внутри своего автомобиля, соответствующее его личным предпочтениям.

uspto.gov