21 февраля 2024 09:37

Пикап Ford легко может превратиться в самосвал

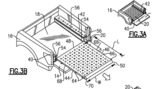
Ford патентует инновационную кузовную платформу для пикапов F-150 и Ranger

Ford в очередной раз доказывает своё новаторство, представляя патент на уникальную систему кузова для своих пикапов F-150 и Ranger, которая обещает упростить жизнь строителям и рабочим. Патент, зарегистрированный в Управлении по патентам и товарным знакам США (USPTO), включает в себя «регулируемую базовую плиту», которая выдвигается из кузова и может наклоняться вниз, подобно кузову самосвала.

Эта инновационная система предполагает размещение регулируемой базовой плиты в кузове транспортного средства. Под плитой находятся направляющие, позволяющие ей выдвигаться в сторону водителя. Это означает, что рабочим или владельцам больше не придется залезать в заднюю часть кузова, чтобы достать инструменты или оборудование, которое соскользнуло на задние секции кузова.

Основное преимущество здесь — возможность наклона базовой плиты вниз, что позволяет легко выкатывать тяжелые предметы из кузова. Вместо того чтобы стоять и выгребать песок или гравий из кузова (утомительная и трудоемкая задача), его можно будет просто высыпать. Также базовая платформа имеет регулируемые уровни высоты, что позволяет гипотетически закрепить предметы под ней, чтобы сохранить чистоту инструментов и оборудования. Например, верхний лоток можно использовать для почвы, песка или гравия, в то время как в нижнем отсеке можно хранить ценные вещи и другие мелкие предметы.

Если Ford внедрит эту систему, будет интересно увидеть, будет ли регулируемая базовая плита доступна во всех его пикапах, включая Maverick. Не удивительно, если она будет предложена только в более коммерческих вариантах, таких как F-150 XL и Super Duty. Такая система также подойдет для фургонов, например, Transit.

uspto.gov