20 сентября 2025 12:42

GM придумала, как укрыть пассажиров автомобиля от дождя и солнца

GM запатентовала автоматический выдвижной навес для автомобилей

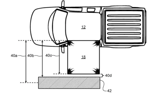
General Motors подала заявку на патент в США на выдвижной и убирающийся тент для автомобилей. Система, описанная в документе под номером US 12,404,692 B2, была зарегистрирована в феврале 2023 года и опубликована 2 сентября 2025 года. Разработкой занимались инженеры из Мичигана.

Новый тент интегрирован в конструкцию машины и работает автоматически. Контроллер, связанный с датчиками автомобиля, анализирует погодные условия, факт парковки и использование дверей. Например, при дожде и открывании двери тент выдвигается, создавая защиту для пассажиров и багажа. Дополнительно система может регулировать зону покрытия, избегая препятствий, а в темное время включать встроенную подсветку.

В отличие от ручных аксессуаров для кемпинга, эта разработка позволяет использовать функцию без участия водителя. Подобные технологии могут повысить удобство эксплуатации и расширить практичность будущих автомобилей.

uspto.gov