17:42 02-01-2026

Mercedes-Benz patents modular gasoline engine with smart exhaust scavenging

Mercedes-Benz patents a modular gasoline engine with an exhaust channel to improve scavenging, cut pumping losses, and boost turbocharged performance.

Mercedes-Benz has patented a new gasoline engine architecture designed to work across multiple layouts. The patent documents mention inline-four and inline-six units, alongside fresh iterations of V8 and V12 powerplants, hinting at a broad, modular approach to future engines.

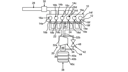
At the heart of the idea is an additional internal exhaust channel integrated into the cylinder head. In the inline-six example, the cylinders are split into two groups linked by a controllable valve. When the valve opens, part of the exhaust stream is redirected to improve scavenging, trimming losses and helping the engine deliver more power at high revs. It reads like a smart way to fine-tune exhaust pulse timing for cleaner cylinder clearing without overcomplicating the hardware.

According to Mercedes-Benz, this setup reduces pumping losses and lifts output by harnessing a more effective pulsating exhaust flow. The patent also underscores that the solution targets turbocharged engines and requires a crankshaft with a 120-degree interval, which rules out a flat-plane configuration—an engineering choice that favors smooth operation and predictable pulse management.