27 сентября 2024 08:06

Jeep выводит полудвери на новый уровень: шагай прямо в дикую природу

Jeep запатентовал дверцы-ступеньки для внедорожников

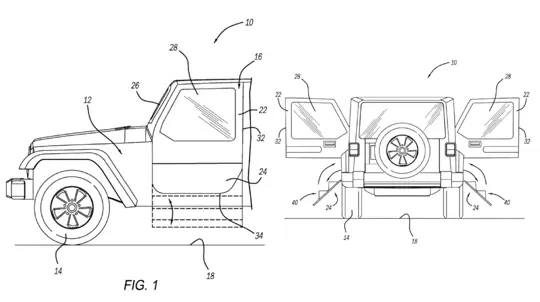
Jeep снова удивляет поклонников внедорожников, представив новую концепцию дверей, которая сочетает в себе практичность и инновации. Недавно компания Stellantis подала патент на полудвери для Wrangler, которые могут трансформироваться в боковые ступеньки, облегчая выход из машины и добавляя удобство при покорении бездорожья.

Новая система предполагает, что нижняя треть двери будет складываться наружу, образуя ступеньку. Верхние две трети двери могут быть съемными, превращая Wrangler в классический внедорожник с полудверями. Этот дизайн, согласно описанию патента, также может работать с съемной крышей, что делает машину еще более гибкой для различных условий.

Хотя это всего лишь патент, Jeep вполне может предложить такие двери в своем каталоге аксессуаров. Новый шаг в модификациях Wrangler доказывает, что бренд не боится экспериментов, предлагая владельцам больше возможностей для приключений.

uspto.gov