20 июля 2024 14:11

Дроны в помощь: GM готовит беспилотную навигацию

GM и Rivian разрабатывают инновационные системы для бездорожья

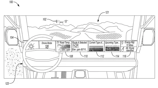
General Motors работает над внедрением дронов для помощи водителям в навигации по сложным бездорожным маршрутам. Патентная заявка GM на «маршрутизацию внедорожных транспортных средств с помощью дронов» была опубликована 13 июня 2024 года. В ней обсуждается использование дрона для разведки местности впереди автомобиля и передачи рекомендаций по маршруту водителю.

Дрон будет оснащен сенсорами, такими как радар и лидар, и подключен к транспортному средству с помощью канала передачи данных. Он сможет учитывать такие параметры, как ожидаемый наклон, углы подъезда и съезда, возможные препятствия, тип поверхности и наличие водоемов. Дрон также может предлагать несколько вариантов маршрутов, отсортированных по степени сложности, и оценивать расход топлива или запас хода электромобиля для определения возможности достижения пункта назначения.

Основное преимущество использования дронов заключается в том, что они могут летать намного дальше зоны видимости водителя и в режиме реального времени оценивать состояние местности в трех измерениях, что невозможно для встроенных навигационных систем. Дроны также могут сопровождать водителей, решивших выйти из автомобиля и отправиться в пеший поход.

Не только GM думает в этом направлении. Rivian также подала заявку на патент системы дронов для помощи в навигации по бездорожью. Версия Rivian предназначена для использования на коротких дистанциях и описывает использование дронов вместо людей-наблюдателей при преодолении особенно сложных препятствий. Инновационные системы навигации обещают сделать вождение по бездорожью более безопасным и предсказуемым, открывая новые возможности для любителей приключений.

uspto.gov