9 июля 2024 09:12

Stellantis хочет избавить свои автомобили от педалей

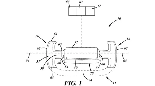
Stellantis патентует революционную систему рулевого управления без педалей

Stellantis представил новый концепт рулевого колеса, который может изменить представление водителей об управлении. Это изобретение, зарегистрированное в Патентном и Торговом бюро США, предлагает использовать руль Yoke для управления не только поворотами, но и педалями газа и тормоза. Технология steer-by-wire, аналогичная использованной Toyota и Mazda, позволяет активировать газ и тормоз движением руля вперед и назад.

Однако такой подход требует дополнительных мер безопасности, таких как полностью автономные системы помощи водителю, чтобы гарантировать безопасность вождения. Важно отметить, что в случае торможения инерция может повлиять на реакцию водителя. Stellantis уверяет, что система сохраняет возможность использования подушки безопасности, но может потребоваться дополнительная защита при ударе, когда руль убран в панель приборов.

Эти инновации от Stellantis направлены на подготовку к будущему автономному вождению. Компания продолжает инвестировать в разработку технологий, включая систему AutoDrive, и ищет способы внедрения новых концепций в будущие модели автомобилей.

uspto.gov