1 января 2026 14:25

Тайный патент Mercedes вернул к жизни двигатели V12

Mercedes-Benz готовит новое поколение V8 и V12: раскрыты детали патента

Добавить 32CARS в предпочитаемые источники Google

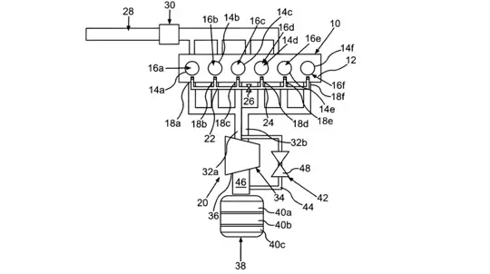
Mercedes-Benz запатентовал новую конструкцию бензиновых двигателей, которая может использоваться сразу в нескольких конфигурациях. Как следует из патентных материалов, речь идет о рядных четырех- и шестицилиндровых моторах, а также о новых версиях V8 и V12.

Ключевая особенность разработки — дополнительный внутренний канал выпуска отработавших газов в головке блока цилиндров. В схеме для рядного шестицилиндрового двигателя цилиндры разделены на две группы, соединенные управляемым клапаном. При его открытии часть выхлопных газов используется для улучшения продувки цилиндров, что снижает потери и повышает мощность на высоких оборотах.

Mercedes-Benz указывает, что такая система уменьшает насосные потери и улучшает отдачу двигателя за счет более эффективного пульсирующего потока выхлопа. В патенте подчеркивается, что решение рассчитано на турбированные моторы и требует коленчатого вала с интервалом 120 градусов, что исключает использование плоского коленвала.

Компания рассматривает применение этой технологии сразу на нескольких типах двигателей, включая V12, которые Mercedes ранее подтверждала для моделей S-Class в долгосрочной перспективе. Разработка отражает стратегию бренда по сохранению двигателей внутреннего сгорания на фоне замедления перехода на электромобили и может найти применение в новых авто 2026 года и последующих модельных лет.

uspto.gov