30 июля 2025 08:58

Хватит гиперкаров: Кристиан фон Кёнигсегг теперь займется авиацией

Кристиан фон Кёнигсегг запатентовал футуристичный самолёт с замкнутым крылом

Добавить 32CARS в предпочитаемые источники Google

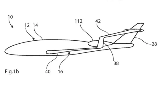
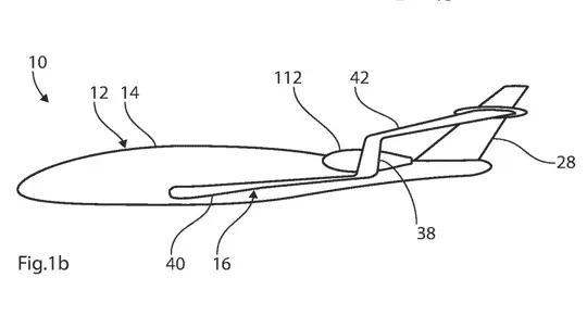
После того как все автомобили Koenigsegg были распроданы, их создатель и бессменный инженер Кристиан фон Кёнигсегг занялся авиацией. Согласно новому патенту, зарегистрированному в июне, он разработал инновационную конструкцию самолёта с замкнутым крылом, призванную повысить аэродинамическую эффективность и устойчивость.

Обычно у самолётов концы крыльев создают турбулентность и сопротивление. В патенте Кёнигсегга крылья образуют замкнутую петлю, соединяясь между носовой и хвостовой частями фюзеляжа. Такая схема снижает сопротивление воздуха и может сократить расход топлива, что критически важно для снижения выбросов в авиации — сегодня этот сектор ответственен за 3,5% климатических изменений.

В конструкции предусмотрена система моторчиков и рычагов, которые позволяют изгибать части крыла под разными углами — для разных фаз полёта: взлёт, крейсерская скорость, посадка. Всё это — без традиционных закрылков и элеронов. При этом встречные секции крыла работают как естественные стабилизаторы.

Конечно, на коммерческих рейсах такой самолёт появится нескоро — если вообще появится. Воплощение проекта потребует новых технологий производства и прохождения строжайших сертификаций. Однако Кёнигсегг известен именно тем, что делает невозможное — возможным.

Автопроизводители не раз пробовали силы в авиации: Ford создавал легендарный Tri-Motor, Mitsubishi и Saab начинали как авиастроители, Honda выпускает собственный бизнес-джет, а Rolls-Royce прославился не только люкс-автомобилями, но и двигателями Merlin для Spitfire. Теперь к ним присоединился и Koenigsegg — не только на земле, но и в воздухе.

Пока остаётся дождаться дальнейших шагов шведского гения. Возможно, следующее достижение Koenigsegg окажется не на трассе, а в небе.

WIPO